Описание
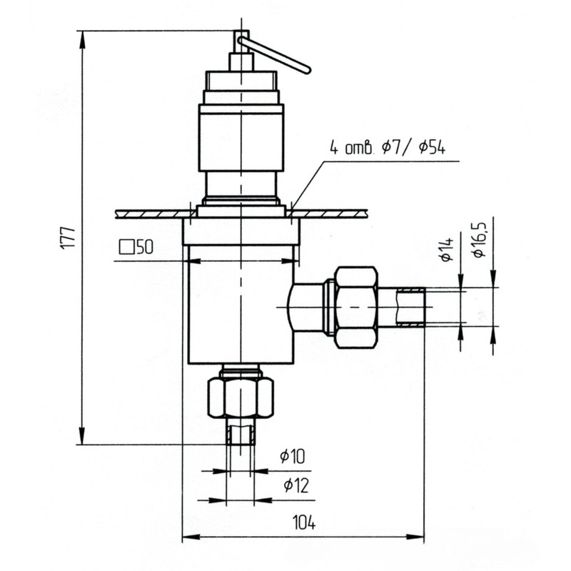
Клапан предохранительный пружинный КС 7546 000 — это устройство, предназначенное для защиты трубопроводных систем от избыточного давления. При превышении допустимого давления в системе клапан автоматически открывается, сбрасывая лишнюю рабочую среду и обеспечивая безопасную эксплуатацию оборудования. Пружинный механизм гарантирует стабильность срабатывания, что делает этот клапан отличным выбором для промышленных криогенных систем, где требуется высокая степень безопасности.
Характеристики:
• Рабочая среда: Подходит для газообразного кислорода, азота, аргона, воздуха, природного газа (метана), что делает его универсальным решением
• Максимальное рабочее давление: До 16 бар (1,6 МПа), что позволяет применять клапан в системах с высокими требованиями к безопасности и точности регулирования давления
• Температурный диапазон: От -196°C до +80°C, что обеспечивает возможность работы в различных температурных условиях
• Тип соединения: Фланцевое, что упрощает установку и гарантирует надежное крепление на трубопроводе
• Материал корпуса: сталь 12Х18Н10Т (ГОСТ 5632-72), устойчивая к коррозии, что обеспечивает долгий срок службы и надежную работу даже в агрессивных условиях
• Особенности: Высокая точность срабатывания пружинного механизма, устойчивость к гидроударам, легкость регулировки и минимальные требования к техническому обслуживанию
Клапан предохранительный пружинный КС 7546 000 является оптимальным решением для обеспечения безопасности трубопроводных систем, предотвращая аварийные ситуации и защищая оборудование от избыточного давления. Его надежная конструкция и высокая степень герметичности делают его незаменимым элементом в системах, где стабильность и безопасность имеют первостепенное значение.









