Описание
Клапан предохранительный КС 7547 000 представляет собой специализированное устройство, созданное для защиты трубопроводов и криогенного оборудования от избыточного давления.
Клапан автоматически активируется при превышении допустимого уровня давления, обеспечивая безопасный сброс рабочей среды и предотвращает возникновение аварийных ситуаций. Этот клапан идеально подходит для использования в системах газоснабжения, водоснабжения и промышленных установках, где необходима высокая степень надежности и точности регулирования давления.
Клапан КС 7547 000 применяется в газификаторах холодных криогенных (ГХК) с рабочим давлением до 1,6 МПа в качестве предохранительной арматуры.
Характеристики:
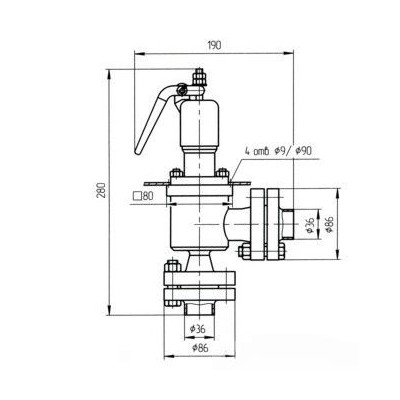
• Диаметр условного прохода (Ду): 25 мм, что обеспечивает оптимальную пропускную способность для систем среднего размера.
• Условное давление (Ру): 16 кгс/см2 (1,6 МПа).
• Материал корпуса: Изготовлен из высококачественной стали 12Х18Н10Т (ГОСТ 5632-72), устойчивой к коррозии, что гарантирует долговечность устройства даже в агрессивных условиях.
• Рабочая среда: газообразный кислород, азот, аргон, воздух, метан. Это делает клапан универсальным решением для криогенных систем.
• Температурный диапазон: От -20°C до +200°C, что позволяет использовать клапан в условиях значительных температурных колебаний.
• Тип соединения: Фланцевое соединение, что упрощает установку и обеспечивает надежное герметичное крепление на трубопроводе.
• Особенности: Высокая точность срабатывания, устойчивость к гидроударам и возможность точной настройки параметров, что минимизирует потребность в частом обслуживании.
Клапан предохранительный КС 7547 000 обеспечивает безопасность газификаторов и криогенного оборудования, предотвращая избыточное давление и защищая оборудование от повреждений. Его простая конструкция делает его идеальным выбором для обеспечения стабильной и безопасной работы криогенных систем.










